小区数百户被陌生人注册公司之谜,谁在幕后操纵?
数百户小区居民被陌生人注册为公司,引发关注,此事涉及多方责任,尚不清楚具体责任人,该行为涉及侵犯个人隐私和商业欺诈等问题,引起居民担忧和不满,相关部门正在调查此事,尚需进一步了解事件细节和背后的原因,小区居民被陌生人注册公司引发社会关注,涉及个人隐私和商业欺诈等问题,目前尚不清楚责任人,相关部门正在调查处理中。
近日,有网友反映,广州花都区一小区,有数百户住宅被莫名注册为公司,业主们对此却并不知情。
1月5日,合景保利香樾四季花园小区一名业主告诉中国新闻周刊,近日有业主办理房产证时,发现名下房产地址被注册了微型企业,随后多位业主也都发现了类似情况,有业主因此报警。
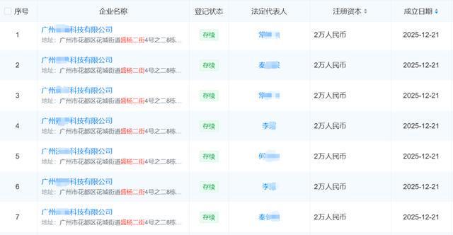
经查询相关平台,2025年11月至12月,该小区地址内出现了大量新成立的公司。自2025年11月20日起,共有469家新公司注册,多数显示为“广州XX科技有限公司”,注册资本2万元。而业主表示,他们并不认识这些公司的法人,也从未进行过相关授权。
一名业主透露,2024年该小区也出现过类似情况,物业单位协调市场监督管理部门上门核查后,曾注销了一批企业,没想到又发生这样的事,“不法分子利用我们住宅地址注册微型企业,对业主来说具有很大风险”,业主们希望能依法注销这些企业。
1月5日下午,该小区物业有关工作人员对中国新闻周刊表示,经过花都区市场监督管理局核查,该小区有500多户业主的住房被注册成企业,物业将与业主逐一核实,若被冒名注册,将反馈至花都区市场监督管理局,统一注销营业执照。
物业工作人员表示,去年该小区也发生过类似事件,涉及30多户业主,后来经市监部门核查后予以注销。
中国新闻周刊从辖区花城派出所获悉,近期接到了多名业主反馈,警方在跟进此事,已上报给花都区市场监督管理局。
随后,花都区市场监督管理局工作人员回应中国新闻周刊,相关工作正联合多部门调查,后续将发布调查结果。
该工作人员介绍,依照《广州市优化营商环境条例》,广州实行开办企业“自主承诺申报制”。其中规定,“实行企业名称、经营范围自主申报制和住所、经营场所自主承诺申报制;允许多个企业按规定将同一地址登记、备案为住所或者经营场所......优化企业登记程序的具体办法由市市场监督管理部门制定,并向社会公布。”
2022年7月,广州市市场监督管理局发布《广州市人民政府办公厅关于优化市场准入环境全面提升开办企业一体化便利服务的意见》,其中指出,实行住所(经营场所)自主承诺申报,“申请人申报的住所(经营场所)在标准地址库范围内的,除涉及负面清单不实行自主申报外,一网通平台可以自动匹配并提供标准地址选择,申请人承诺申报的住所(经营场所)合法真实有效即可办理,无需上传产权证明或租赁合同等材料。”
中国新闻周刊注意到,《广州市市场主体住所(经营场所)自主承诺申报负面清单》中明确规定,法定用途为住宅的房产,不实行住所(经营场所)自主承诺申报。
对此,花都区市监局工作人员表示,“目前确实出现不法分子提供虚假材料,骗取注册登记的行为”, 上述“自主承诺申报制”系统现已关闭。
记者:赵雨萌
编辑:黄昱曦
作者:访客本文地址:https://shucuo.cn/post/7014.html发布于 2026-01-06 14:26:31
文章转载或复制请以超链接形式并注明出处数错网



还没有评论,来说两句吧...